Trois écrans, trois batteries : cette fuite sur le Samsung Z TriFold nous dévoile son design hallucinant
Samsung n’a pas encore officialisé son nouveau bijou technologique, mais les fuites s’en chargent. Un brevet déposé en Corée révèle enfin comment fonctionne ce mystérieux appareil à trois volets. Trois écrans, trois batteries, et un design qui pourrait bien tout changer.

Depuis plusieurs années, le constructeur coréen fait figure de pionnier sur le marché des smartphones pliants. Après les Galaxy Z Fold et Z Flip, Samsung semble prêt à franchir une nouvelle étape. Les premiers modèles avaient déjà marqué un tournant dans la conception des téléphones en mêlant puissance et flexibilité. Mais pour beaucoup, l’innovation s’essoufflait. Le public attendait une vraie rupture, un produit capable de relancer la curiosité autour de cette technologie.
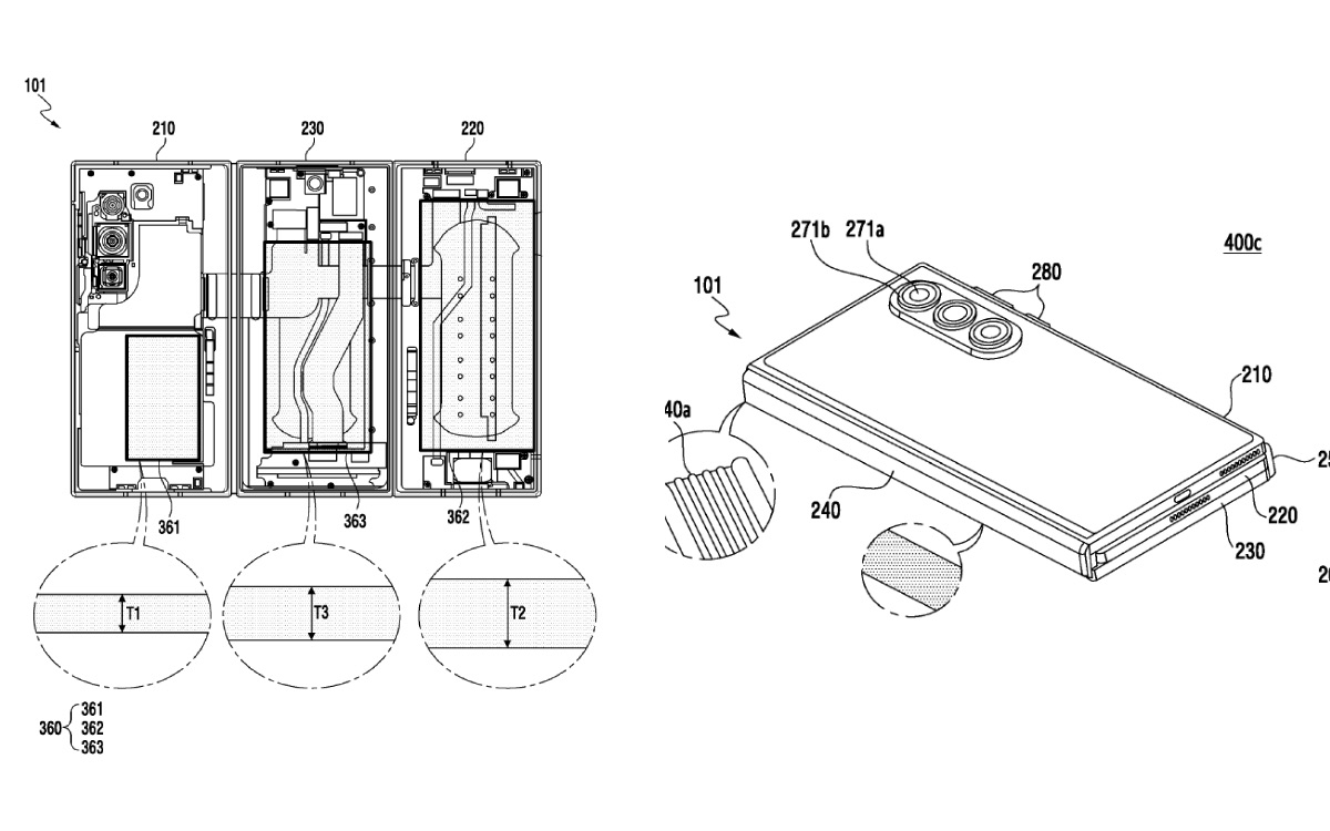
Cette attente pourrait bientôt être comblée. Selon une fuite repérée par le site américain Android Headlines, un brevet déposé auprès du régulateur sud-coréen KIPRIS décrit en détail le futur smartphone tri-pliant de Samsung. Baptisé provisoirement Galaxy Z TriFold, l’appareil serait composé de trois panneaux reliés entre eux, chacun intégrant sa propre batterie. La plus petite serait logée dans la partie contenant les caméras, tandis que la plus grande occuperait le troisième volet. L’ensemble offrirait ainsi une capacité nettement supérieure à celle du Galaxy Z Fold 7 et sa batterie de 4 400 mAh.

Le Galaxy Z TriFold utiliserait trois batteries reliées entre elles pour une autonomie inédite
Ce choix technique permettrait à Samsung d’augmenter considérablement l’autonomie, un point souvent critiqué sur les pliants actuels. Les trois cellules seraient reliées par des nappes internes, garantissant une alimentation homogène quel que soit l’état de pliage. Les croquis du brevet laissent aussi entrevoir un design proche du Z Fold 7, mais avec une structure interne totalement repensée. Le format une fois déplié offrirait un grand écran façon tablette, idéal pour le multitâche ou les usages professionnels.
D’après les informations du Korea Times, Samsung pourrait présenter son TriFold dès la fin octobre, lors d’un salon professionnel organisé en Corée du Sud. Une commercialisation limitée à certains marchés, comme la Corée et la Chine, serait envisagée dans un premier temps. Le prix, proche de 3 000 euros, placerait ce modèle dans le très haut de gamme. Si le calendrier se confirme, ce TriFold deviendrait la plus grande innovation de la gamme Galaxy depuis 2019. Reste à savoir si le public est prêt à adopter un smartphone aux allures de tablette futuriste.

